WIZ850io
WIZ850io

The WIZ850io is a compact network module that integrates the W5500 hardwired TCP/IP chip with a built-in PHY, transformer, and RJ45 MAG-JACK.
It is fully compatible with WIZ820io hardware, providing developers with a seamless upgrade path and faster network performance.
Ideal for rapid prototyping and Internet-enabled embedded systems, it requires no additional interface design between the W5500 and transformer.
Pin Information
- All

J1 — SPI Interface
Pin | Type | Name | Description |
---|---|---|---|
1 | P | GND | Ground |
2 | P | GND | Ground |
3 | I | MOSI | SPI Master-Out / Slave-In |
4 | I | SCLK | SPI clock input |
5 | I | SCNn | SPI chip select (active low) |
6 | O | INTn | Interrupt output (low-active) — indicates socket events like connection, disconnection, data reception, and WOL |
J2 — Power & Control
Pin | Type | Name | Description |
---|---|---|---|
1 | P | GND | Ground |
2 | P | 3V3D | 3.3 V Power supply |
3 | P | 3V3D | 3.3 V Power supply |
4 | – | NC | Not connected |
5 | I | RSTn | Hardware reset input (active low, ≥ 500 µs) |
6 | O | MISO | SPI Master-In / Slave-Out |
Wait at least 50 ms after RSTn goes high before SPI communication.
Features
- Compact plug-in Ethernet module integrating W5500 with transformer and RJ45 MAG-JACK
- Hardware compatible with WIZ820io
- No hardware design required for PHY or transformer
- Supports high-speed SPI interface (Mode 0/3)
- Power-down and Wake-on-LAN support
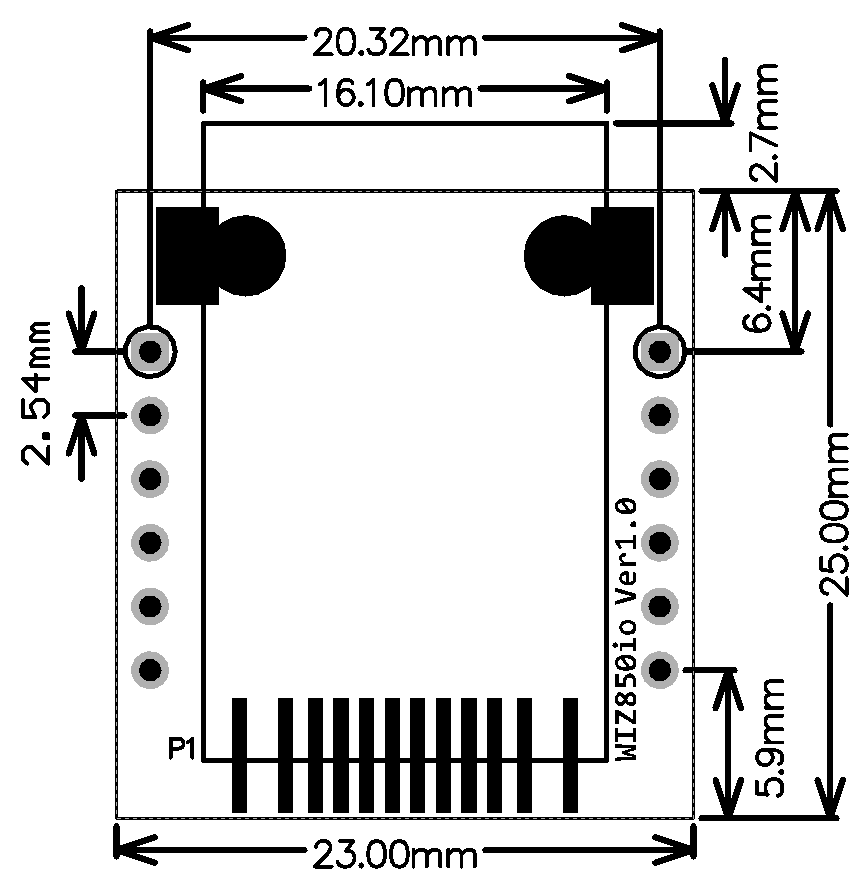
- Small form factor: 20 × 25 mm
- 1×6-pin headers (2.54 mm pitch)
- Operating temperature: −40 °C ~ +85 °C
Electrical Characteristics
- DC Characteristics
- Power Dissipation
Symbol | Parameter | Pins | Min | Typ | Max | Unit |
---|---|---|---|---|---|---|
VDD | Supply voltage | 3.3 V | 2.97 | 3.3 | 3.63 | V |
VIH | High-level input | ALL | 0.7×Vcc | – | 5.5 | V |
VIL | Low-level input | ALL | –0.3 | – | 0.3×Vcc | V |
VOH | High-level output | ALL | 2.9 | 3.3 | – | V |
VOL | Low-level output | ALL | 0.0 | – | 0.52 | V |
IDD | Supply current (Normal) | 3.3 V | – | 141 | – | mA |
IPD | Supply current (Power-down) | 3.3 V | – | 13 | – | mA |
Condition | Min | Typ | Max | Unit |
---|---|---|---|---|
100 Mb/s Link | – | 135 | – | mA |
10 Mb/s Link | – | 80 | – | mA |
Unlink (Auto-negotiation) | 62 | – | 75 | mA |
100 Mb/s Tx | 137 | – | 141 | mA |
10 Mb/s Tx | – | 83 | – | mA |
Power-down | – | 13 | – | mA |
Documentation
This section provides key documentation, including user manuals and datasheets, to help you understand product features, specifications, and usage.
Title | Description | Link | Notes |
---|---|---|---|
Datasheet | Technical specifications and features of the W5500 chip | - |
SPI operation of W5500-io follows one of W5500. For more information about SPI operation of W5500-io, please refer to W5500 Datasheet.
Software Resources
- Driver
- Application Note
Driver
Resource | Description |
---|---|
Official WIZnet driver library for W5500 and other chips |
The ioLibrary_Driver is an MCU-independent library for WIZnet W5x00, W6x00 chips .
It provides implementations of essential TCP/IP services, enabling developers to build network applications with minimal MCU dependencies.
Supported services
DHCP, DNS, MQTT, SNTP, TFTP, HTTP Server
Application Note
Example Name | Description | Notes |
---|---|---|
How to use TCP Function | ITCP Function handles IPv4 layer communication | |
How to use UDP Function | UDP Function handles IPv4 layer communication | |
How to use IPRAW Mode | IPRAW Mode handles IPv4 layer communication | |
How to use PPP/PPPoE | PPP is Link-Layer protocol for point-to-point |
These application notes explain how to use W5500's core networking functions including TCP, UDP, IPRAW mode, and PPPoE protocols.
Hardware Resources
Title | Revision | Description | Download | Notes |
---|---|---|---|---|
Schematic | 1.0 | Circuit diagram for reference | ||
Schematic | 1.1 | Updated circuit and layout |
Mechanical Information

- Form factor: Plug-in ioModule
- Pin pitch: 2.54 mm
- Dimensions: 25 × 23 mm
Related Products
Product | Description |
---|---|
W5500 Chip | Hardwired TCP/IP Ethernet controller with integrated PHY |